Цифровая взрывобезопасная видеокамера МИРАН ИВМС-501В
МИРАН ИВМС-501В — это взрывобезопасная наружная ip-видеокамера, произведённая группой компаний «Маринэк». Устройство предназначено для наблюдения и охраны объектов повышенной опасности. Она сочетает в себе современные технологии и надёжность. Это делает её подходящей для использования как в помещениях, так и на открытых площадках.
В составе ТСОН МИРАН имеет сертификацию РКО, РМРС и СТиС МВД. Обладает двумя режимами работы (ночной и дневной). Позволяет получать изображение с разрешением от 2МП.
Работает в широком диапазоне температур от -60°С до +70°С.
ИВМС-501В может поддерживать такие функции, как детекция движения и маска конфиденциальности. Обнаружение движения позволяет повысить эффективность мониторинга объекта, а также уменьшить размер требуемого места в памяти видео фиксатора.
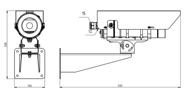
Корпус камеры защищен от механических повреждений и неблагоприятных погодных условий, что гарантирует ее долговечную эксплуатацию. Имеет защиту по стандарту IP68, что обеспечивает пыле- и влагозащиту. Благодаря этому есть возможность установки камеры на открытой палубе судна. Цифровая видеокамера МИРАН ИВМС-501В крепится к стене. Это дает возможность регулировать высоту монтажа и угол обзора, на который она направлена.
Взрывозащищенный корпус позволяет устанавливать видеокамеру в пожароопасных и взрывоопасных местах. Например: военные объекты, АЭС, промышленные зоны. Маркировки взрывозащиты: 1Ex d IIС T6…T5 Gb, 1Ex d IIС T6…T2 Gb, Ex tb IIIС T85 C…T290 C Db, PB Ex d I Mb
Взрывобезопасная цифровая видеокамера МИРАН ИВМС-501В активно применяется в составе телевизионной системы охранного наблюдения ТСОН МИРАН.
Камера широко используется в различных отраслях, где необходим контроль за обстановкой в условиях риска. Она подходит для установки на нефтяных платформах, в химических заводах, на складах с горючими материалами и в других потенциально опасных зонах.
Цифровые взрывобезопасные камеры играют важную роль в обеспечении безопасности и мониторинга в потенциально опасных ситуациях. Они помогают предотвращаться аварии и повышают общую безопасность на производственных объектах.
Сферы применения видеокамеры
— Морская и речная промышленность. Взрывозащищенные видеокамеры наружного наблюдения применяются на судах, пирсах и внутренних водных путях для обеспечения безопасности. Они позволяют проводить контроль грузов и наблюдать за процессами погрузки или разгрузки судна.
— Промышленность. МИРАН ИВМС-501В применяются в нефтяной, газовой и химической промышленности для наблюдения за оборудованием, рабочими зонами и процессами производства.
— Общественная безопасность. Взрывобезопасные видеокамеры используются правоохранительными органами для обеспечения безопасности на общественных местах. ИВМС может помочь предотвратить вандализм или нападение за счёт мониторинга территорий и оперативного вмешательства сотрудников.
Причины купить взрывозащищённую камеру
– Сертификаты РКО, РМРС, СТиС МВД
– Различные режимы работы
– Широкий диапазон рабочих температур
– Отечественный производитель
– Может применяться в составе телевизионной системы охранного наблюдения
|
Общие характеристики
|
|
|
Габариты
|
262х92х92 мм |
|
Матрица
|
1/2.9" Sony IMX323 CMOS |
|
Разрешение
|
от 2 МП, 25/30 кадров в секунду |
|
Электронный затвор
|
AUTO, 1/25s ~ 1/100000s |
|
Мин. освещение
|
0.01Lux@F1.2(AGCON), 0Lux при включенной IR подсветке |
|
День/ночь
|
Авто/(B/W)/расписание |
|
WDR
|
Цифровой WDR |
|
Баланс белого
|
Авто |
|
AGC/BLC
|
Поддерживается |
|
DNR
|
2D/3D DNR |
|
Функции
|
Обнаружение движения, Маска конфиденциальности |
|
Сжатие
|
H.265, H.264 |
|
Подпоток
|
Да |
|
Битрейт
|
32Kbps - 6Mbps, VBR/CBR |
|
Стандарт аудио
|
G.711-u |
|
OSD
|
Название камеры, время, дата |
|
Маркировки взрывозащиты
|
1Ex d IIС T6…T5 Gb, 1Ex d IIС T6…T2 Gb, Ex tb IIIС T85 C…T290 C Db, PB Ex d I Mb |
|
Фокусное расстояние
|
2.8 – 12 мм варифокальный |
|
Протоколы
|
HTTP/RTSP/FTP/NFS/SMTP/DHCP/NTP |
|
P2P
|
Да |
|
ONVIF
|
2.6 совместимый |
|
Сетевые интерфейсы
|
1-RJ45 |
|
Питание
|
220 V (DC12V, 24V, PoE++) |
|
Подогрев
|
Да |
|
Рабочие условия
|
От -60°C до +70°C |
|
Защита корпуса
|
IP68 |
* - Обращаем ваше внимание! Оборудование под брендом МИРАН имеют право устанавливать специалисты группы компаний «Маринэк», а также специалисты аккредитованных сервисных компаний. ГК «Маринэк» не несет ответственности за возможные неисправности оборудования под брендом МИРАН, которые могут возникнуть вследствие монтажа, пусконаладочных работ и/или других сервисных работ, производимых неаккредитованными компаниями.
Все технические специалисты «Маринэк» имеют необходимые допуски и аккредитацию для осуществления необходимых сервисных работ и гарантируют работоспособность устанавливаемого оборудования МИРАН, произведенное группой компаний «Маринэк».
* - Технические характеристики зависят от комплектации устройства.
Изготовитель оставляет за собой право вносить изменения в конструкцию, не влияющие на правила и условия эксплуатации, без отражения в документации. Актуальную техническую информацию уточняйте у менеджеров группы компаний "Маринэк" на info@seacomm.ru
Базовая комплектация МИРАН ИВМС-501В
– Цифровая видеокамера МИРАН ИВМС-501В – 1 шт.
– Руководство по эксплуатации – 1 шт.
Сервис
Техподдержка
Документы


.png)